?
2019-08-27 13:11?出處 綜合
五糧液與阿里合作:據最新消息,五糧液與阿里宣布合作。8月26日,五糧液集團與阿里巴巴集團戰略合作簽約儀式在宜賓舉行,雙方宣布將在新零售、互聯網技術與行業融合、供應鏈金融服務、企業信息技術服務等領域進行廣泛深度合作,對示范帶動白酒行業數字化轉型,打造酒業新經濟樣板具有重大戰略意義。
五糧液集團有限公司,其前身由50年代初幾家古傳釀酒作坊聯合組建而成的“中國專賣公司四川省宜賓酒廠”,1959年正式命名為“宜賓五糧液酒廠”,1998年改制為“四川省宜賓五糧液集團有限公司”。
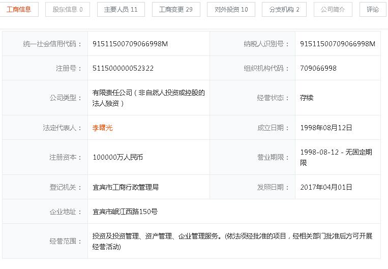
據微貓搜索查詢顯示,四川省宜賓五糧液集團有限公司成立日期:1998年08月12日,注冊資本:100000萬人民幣,法定代表人:李曙光。

五糧液與阿里合作:微貓搜索
據悉,此次五糧液與阿里巴巴合作,雙方將依托各自優勢,整合雙方資源,全面拓展合作關系,在阿里云、天貓、零售通、金融、營銷數字化流程平臺以及物流服務等領域開展重點合作。阿里云將支持五糧液構建數字化的零售門店和生產檢測,天貓和零售通將為五糧液拓展更加高效的銷售渠道和營銷陣地,螞蟻金服為五糧液對接更加高效的金融服務,菜鳥和釘釘支持五糧液構建智能化物流系統和以移動辦公為基礎的營銷流程管理。同時,雙方還就品牌及產品營銷、共建數據平臺及更大范圍的數字化轉型深入合作。
五糧液集團公司黨委書記、董事長李曙光表示,此次與阿里巴巴達成戰略合作,是傳統產業與新興產業的緊密握手,也是加快推進五糧液營銷數字化轉型升級的重要措施,為五糧液“二次創業”增添動力。
阿里巴巴集團CEO張勇在簽約儀式上表示,這一合作,是從明朝洪武年間出現的充滿歷史的民族品牌五糧液,和互聯網出現后誕生的阿里巴巴之間的化學反應。“未來每個公司都是互聯網公司,我們愿意分享阿里20年來沉淀的數字化能力,為合作伙伴未來增長帶來新動能。”
本文“”來源:http://www.coweal.com/news/jingji/73119.html,轉載必須保留網址。作者:yujeu